Tornillo de cabeza avellanada con hexágono interior ISO 10642 M6x12
Tornillo de cabeza avellanada con hexágono interior M6x12 – ISO 10642
El tornillo M6x12 de cabeza avellanada con hexágono interior según ISO 10642 (a menudo también indicado como DIN 7991) es la elección adecuada cuando se necesita una superficie enrasada y sin salientes. Gracias a su cabeza avellanada, el tornillo se asienta en un avellanado compatible y puede quedar al ras de la pieza, lo que lo hace ideal para tapas, paneles, piezas deslizantes y construcciones de perfiles de aluminio con un acabado limpio. Fabricado en acero de alta resistencia (clase 10.9) y zincado para protección contra la corrosión, proporciona una sujeción fiable en montajes compactos.
¿Por qué una cabeza avellanada?
- Acabado al ras: la cabeza puede quedar al mismo nivel que la superficie para un aspecto limpio y profesional
- Sin cabeza sobresaliente: reduce el riesgo de engancharse con cables, ropa o componentes en movimiento
- Ahorro de espacio: útil cuando hay poca holgura (tapas, protecciones, estructuras compactas)
Aplicaciones típicas
- Tapas, paneles y protecciones de máquinas
- Construcciones de perfiles de aluminio donde se requiere una superficie exterior plana
- Automatización, utillajes y conjuntos mecánicos compactos
- Proyectos donde las piezas se deslizan sobre la superficie fijada o la tocan
Especificaciones clave
- Tamaño: M6 × 12 mm (rosca métrica; en tornillos avellanados la longitud suele medirse como longitud total)
- Accionamiento: hexágono interior (para llave Allen de 4 mm)
- Material: acero zincado, clase 10.9
- Norma: ISO 10642 / DIN 7991
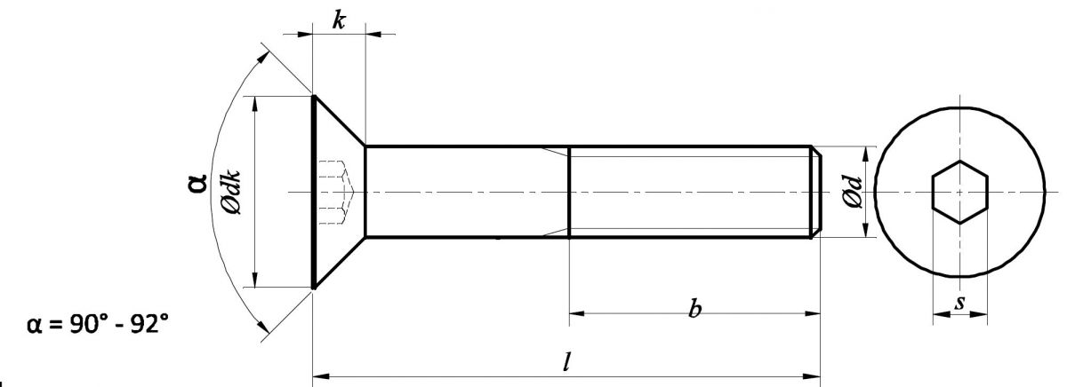
Dimensiones (ISO 10642) – M6x12 (según el plano)
- l: 12 mm
- dk máx: 13,44 mm
- dk mín: 11,34 mm
- k máx: 3,72 mm
- s (nom): 4 mm
Uso con nuestros conectores para perfiles de aluminio T-slot
Los tornillos avellanados son especialmente útiles en construcciones con perfiles de aluminio cuando quieres una superficie exterior lisa—por ejemplo en paneles, escuadras o placas montadas en un bastidor. Combina este tornillo M6 con nuestros accesorios para perfiles, como:
- Tuercas en T / tuercas deslizantes / tuercas martillo (según el sistema de ranura) para fijación dentro de la ranura del perfil
- Placas y conectores planos donde una cabeza al ras mejora la holgura y la estética
- Escuadras y placas de montaje para montajes limpios y de perfil bajo
Calidad & disponibilidad
Suministramos tornillería y accesorios para perfiles de aluminio de alta calidad y mantenemos un gran stock—por lo que podemos atender con rapidez y fiabilidad tanto pedidos pequeños como grandes proyectos B2B, directamente desde almacén.
Render de tornillo de cabeza avellanada con hexágono interior M6x12 (ISO 10642 / DIN 7991), acero zincado Tornillo de cabeza avellanada con hexágono interior M6x12 (ISO 10642 / DIN 7991) – plano acotado (l, dₖ, k, s, α)